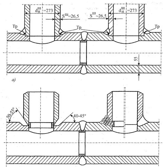
Стык трубы