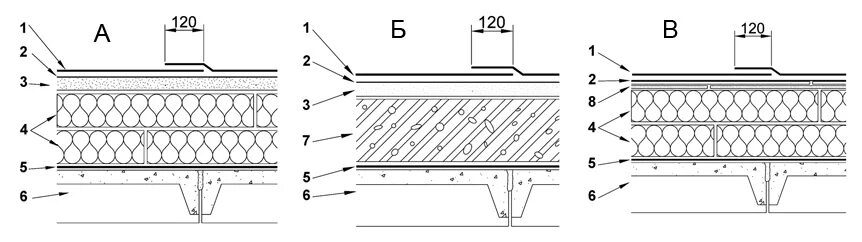
Стяжка из хризотилцементных листов