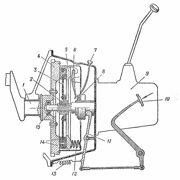
Сцепление основные элементы