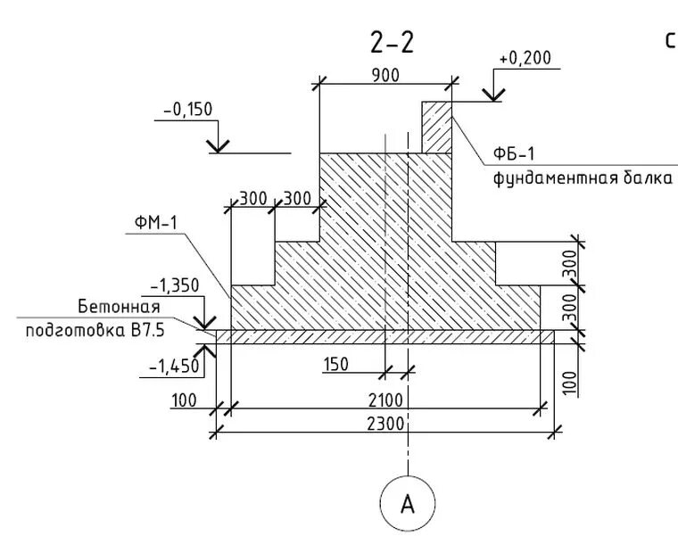
Столбчатый фундамент разрез