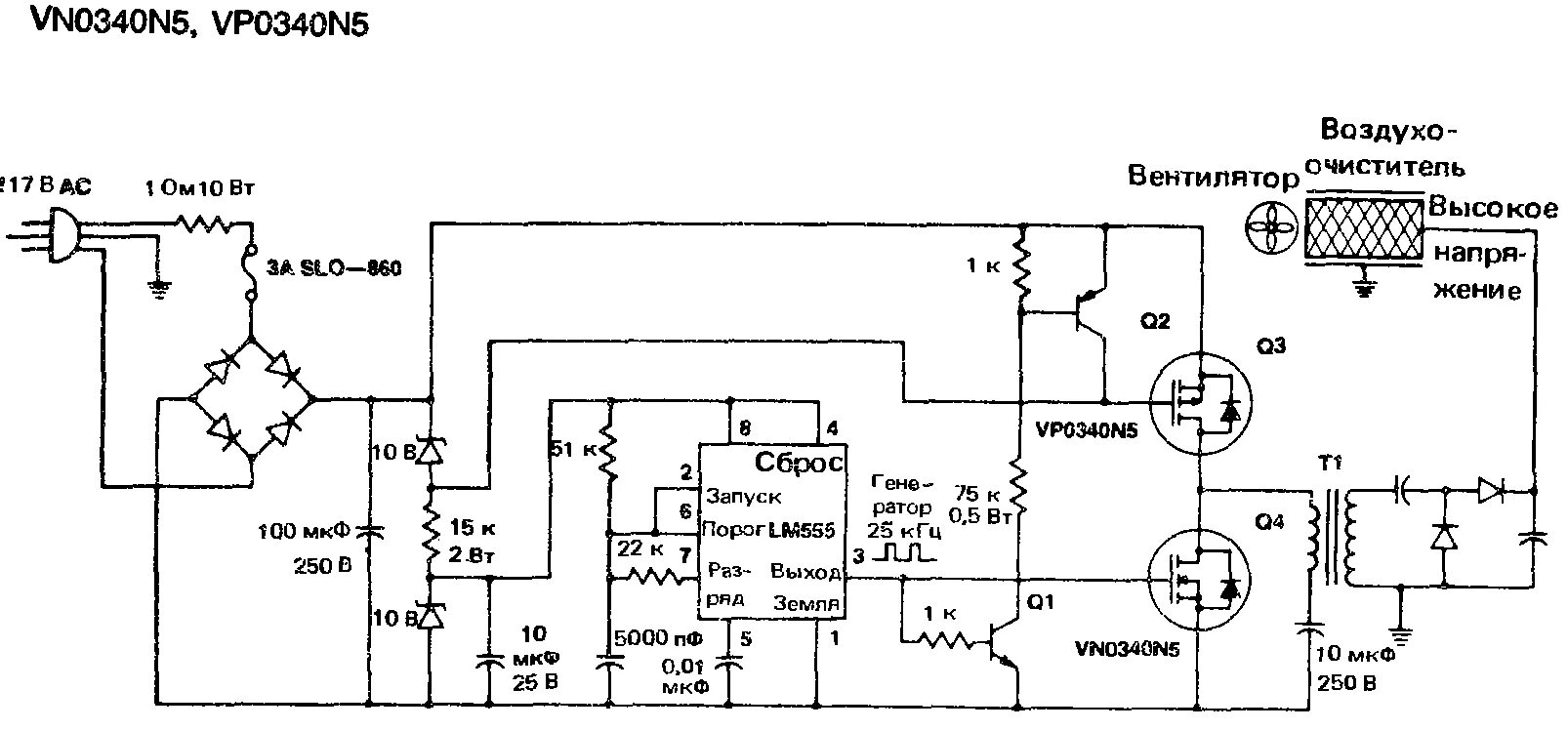
Статический источник питания