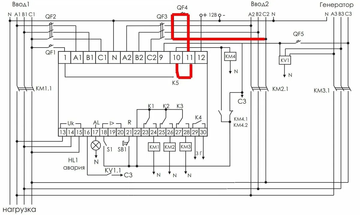
Срабатывание авр