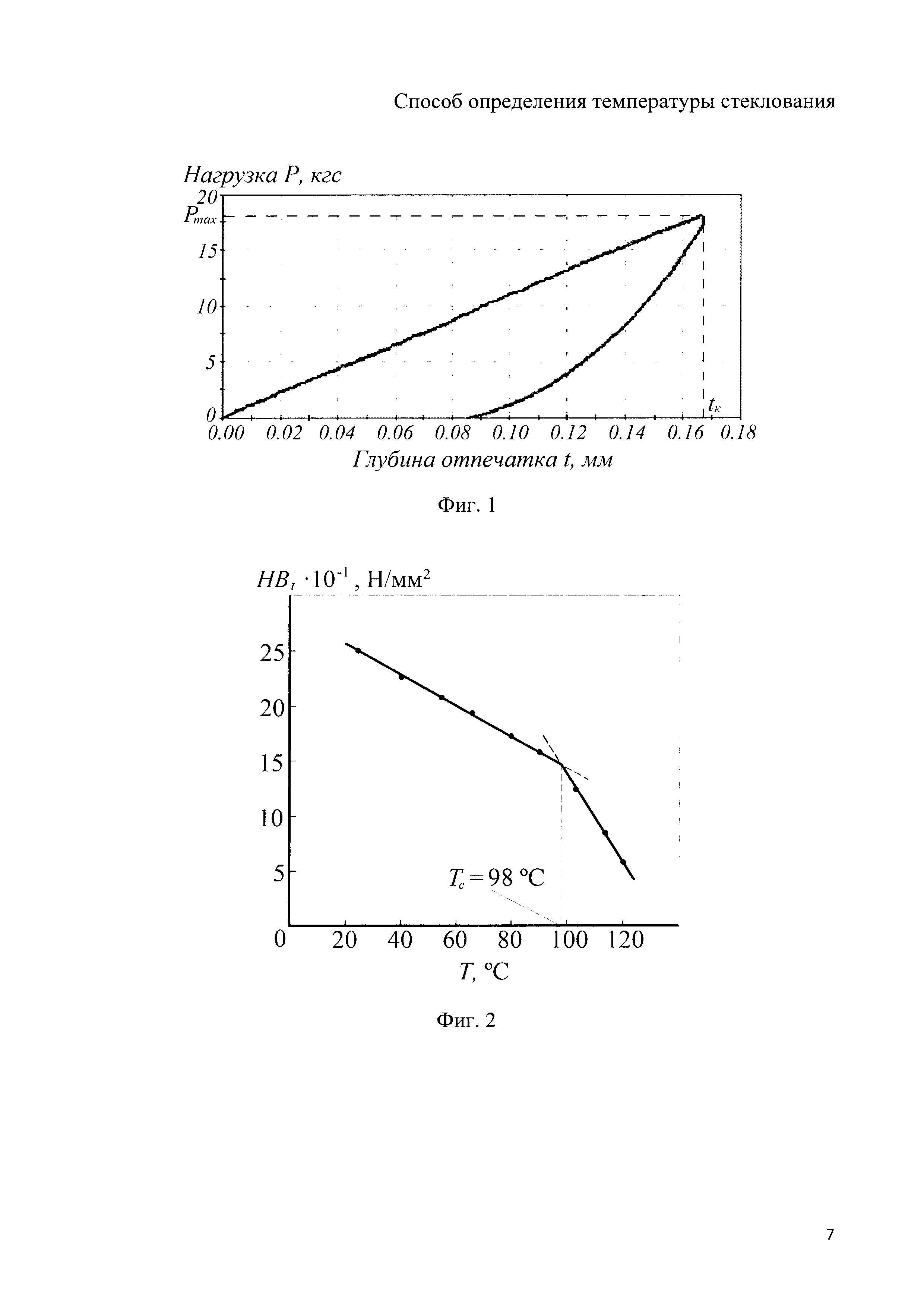
Способы определения температуры