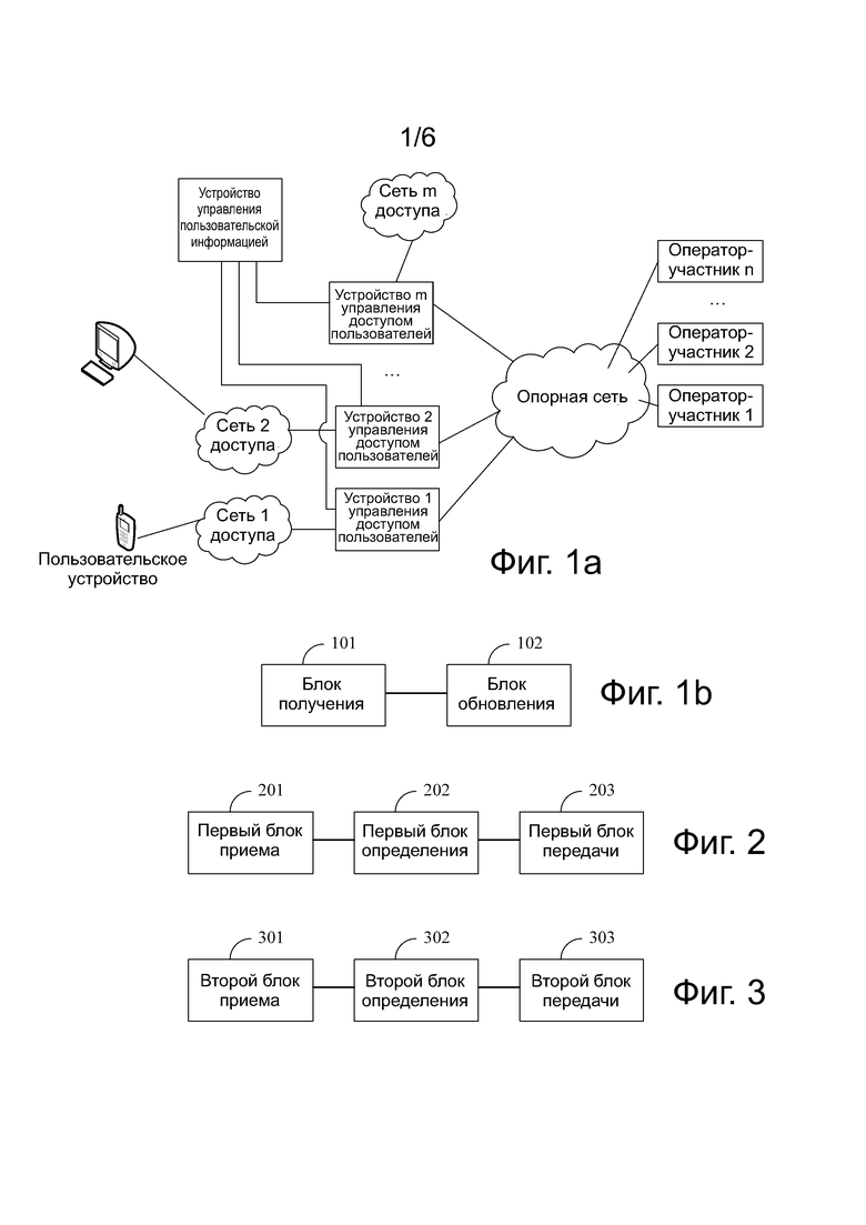
Способ управления сетью