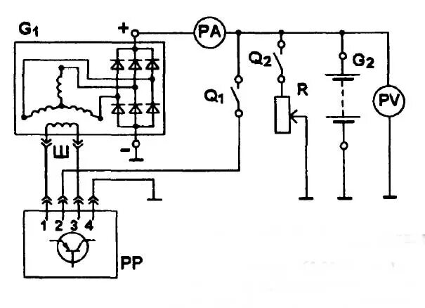
Способ подключения генератора