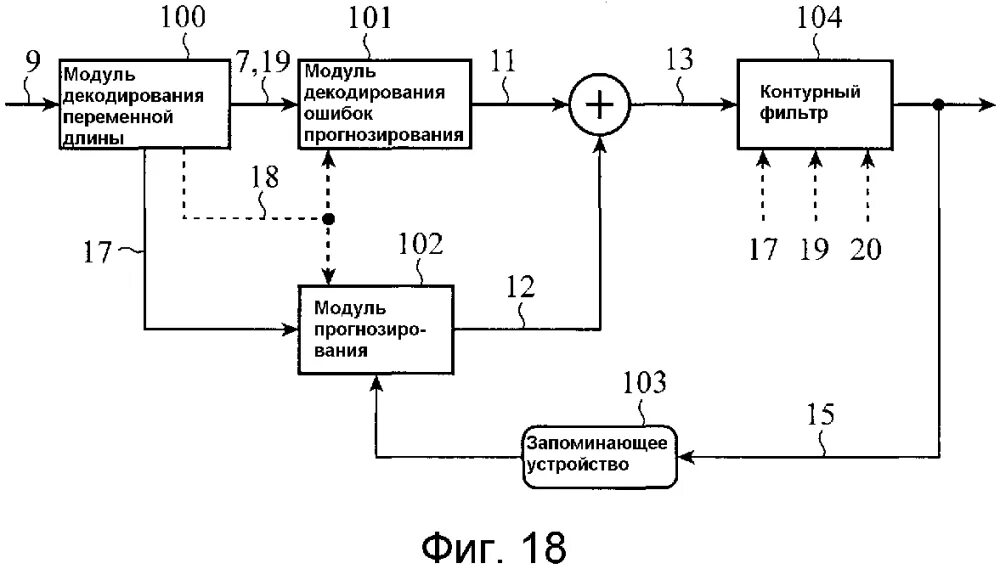
Способ декодирования