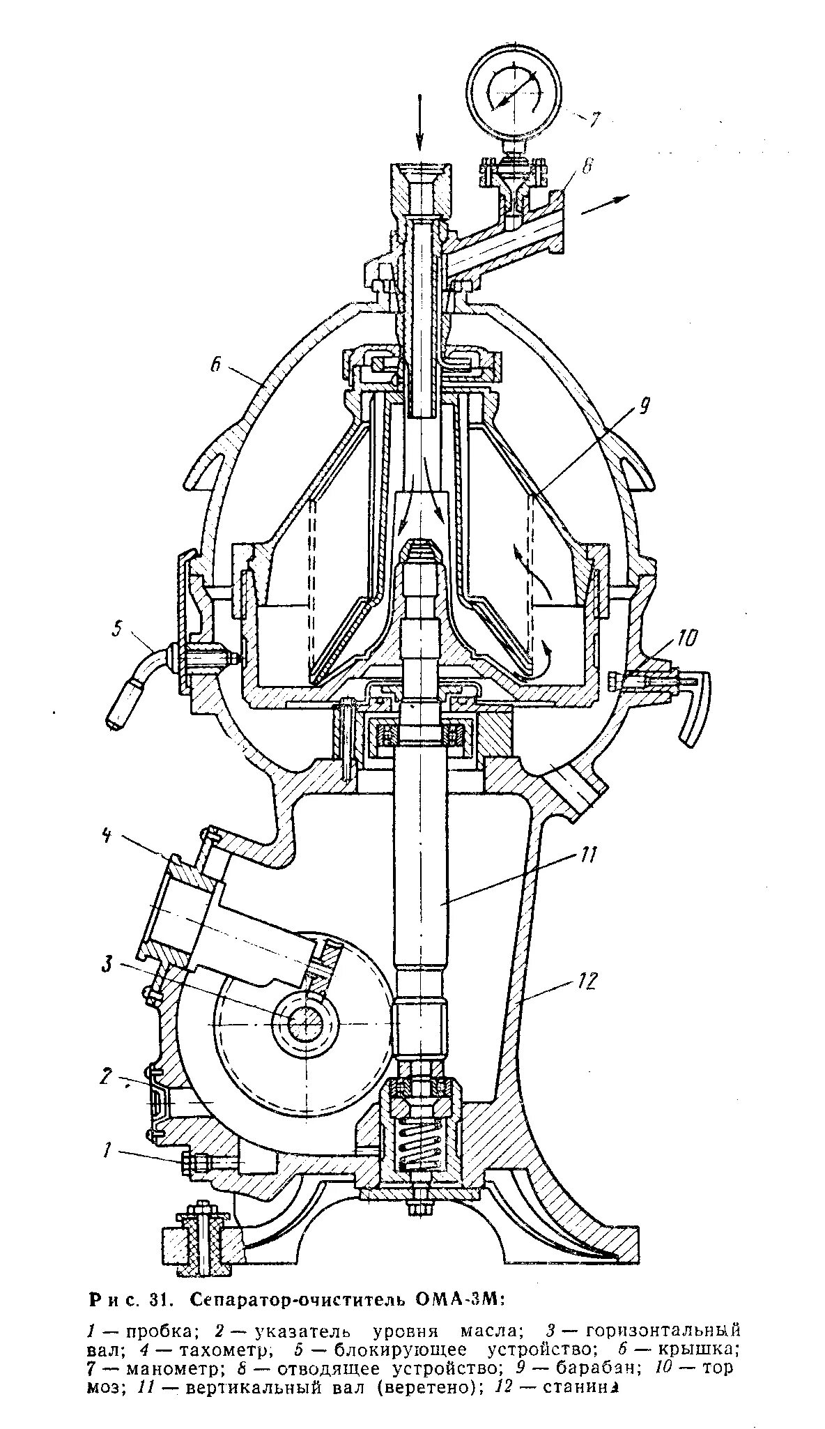
Составляющие сепаратора