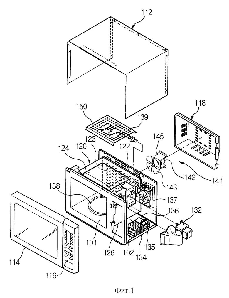
Составляющие микроволновой печи