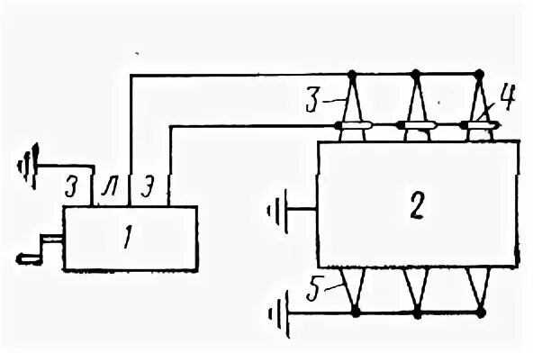
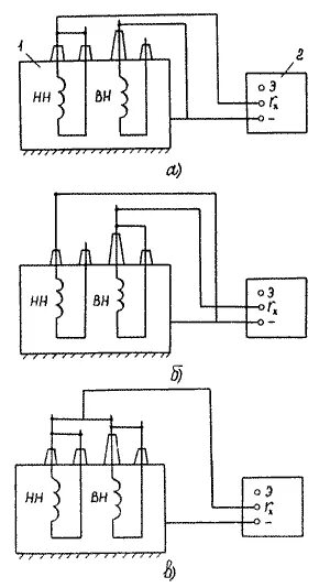
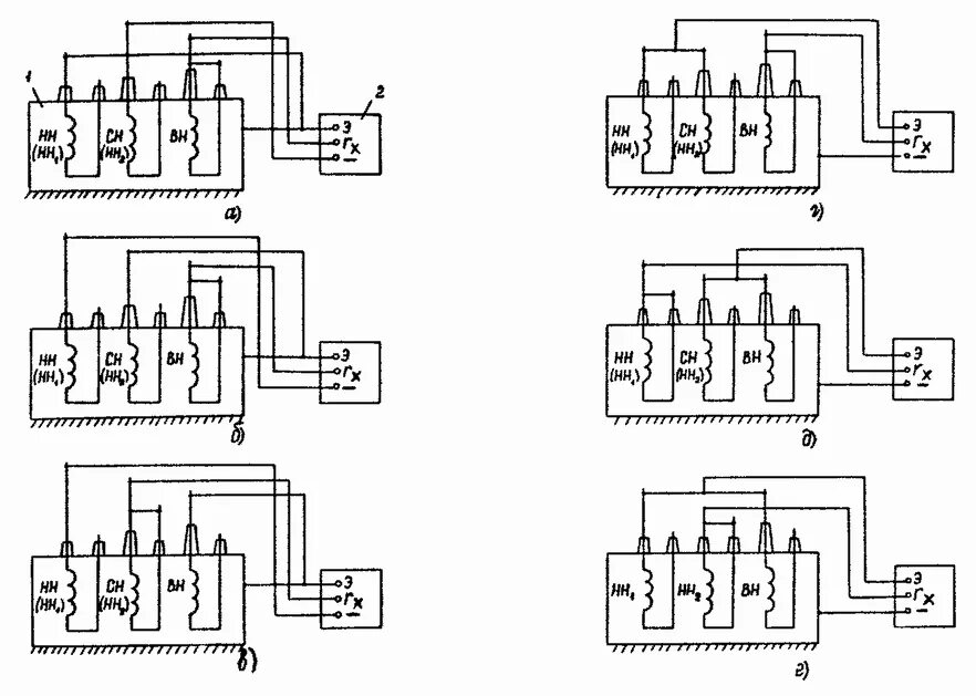
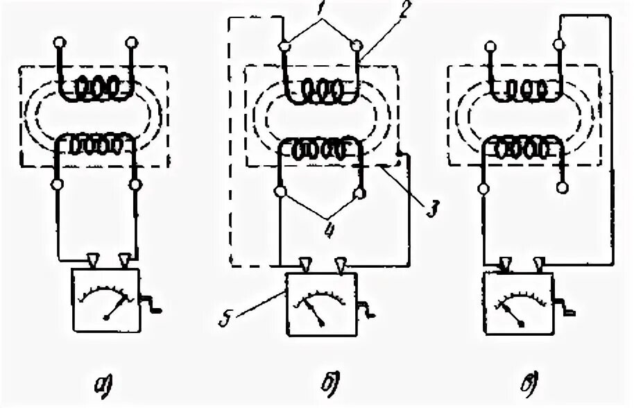
Сопротивление изоляции трансформатора