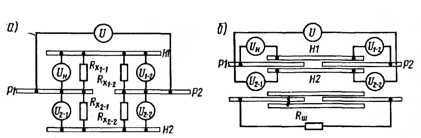
Сопротивление изоляции рельсовой линии