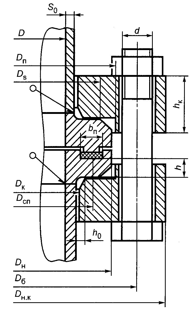
Соединение тип б