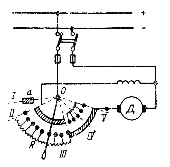
Соединение реостатов