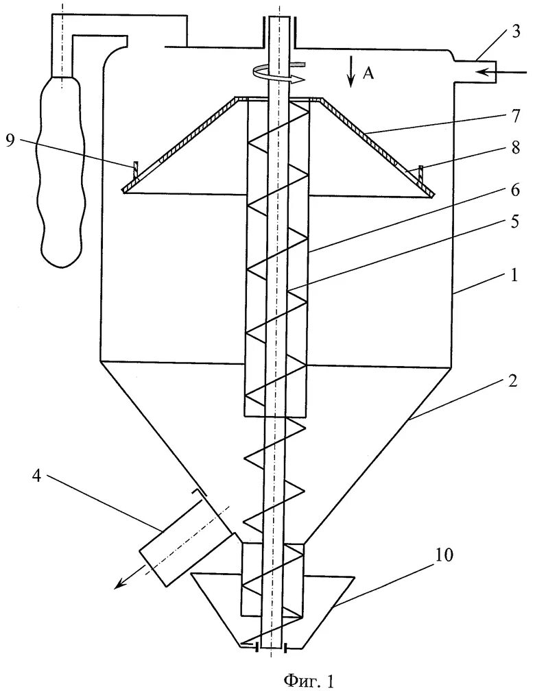
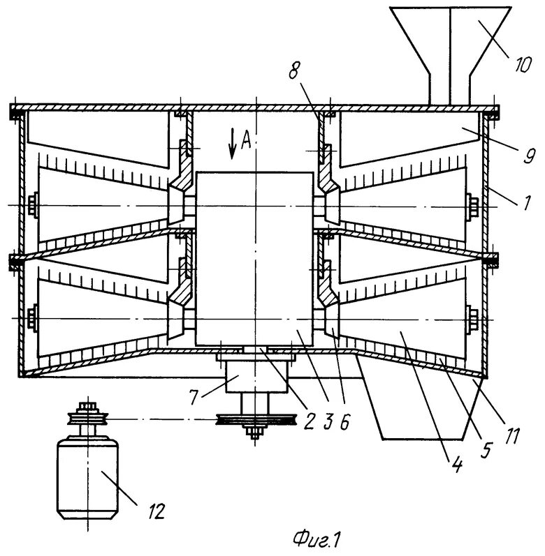
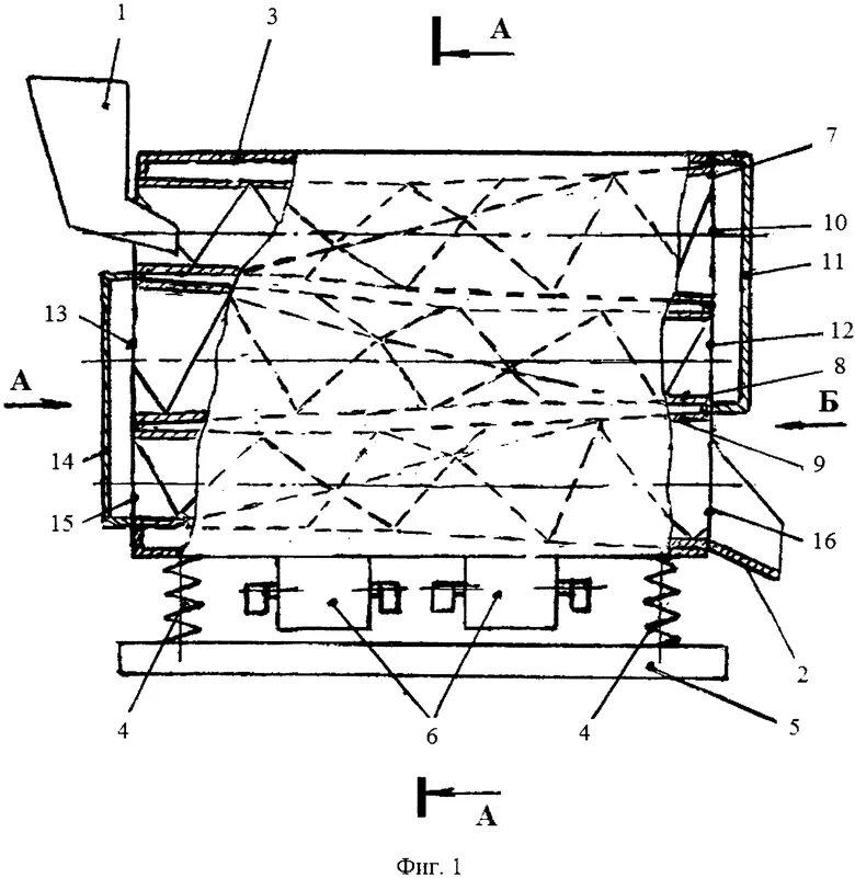
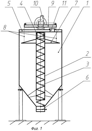
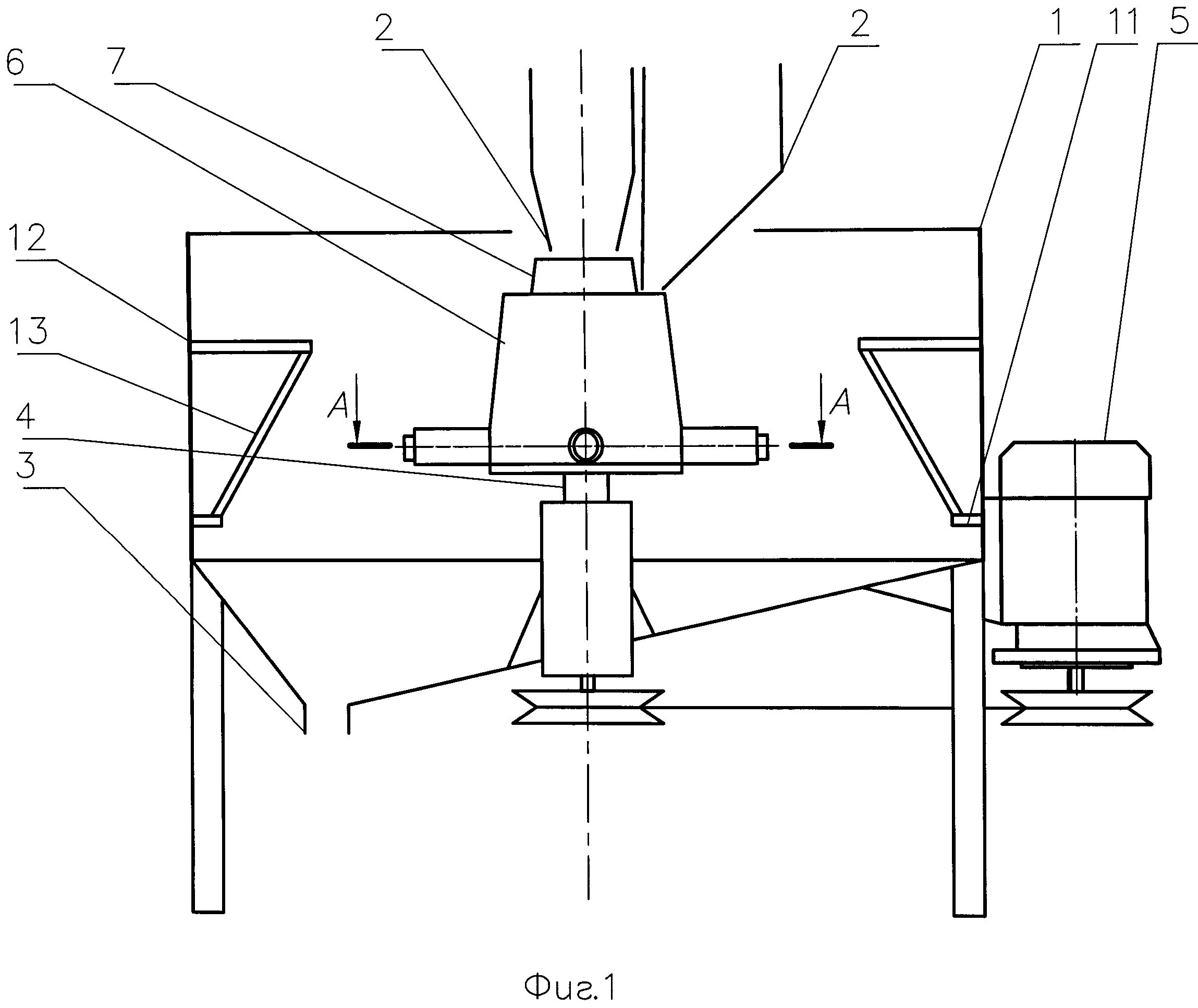
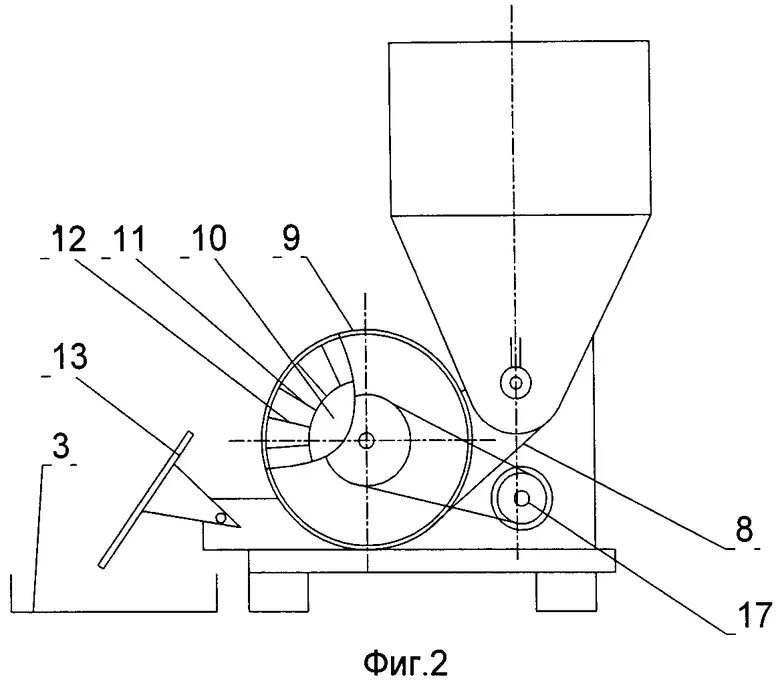
Смешивание сыпучих