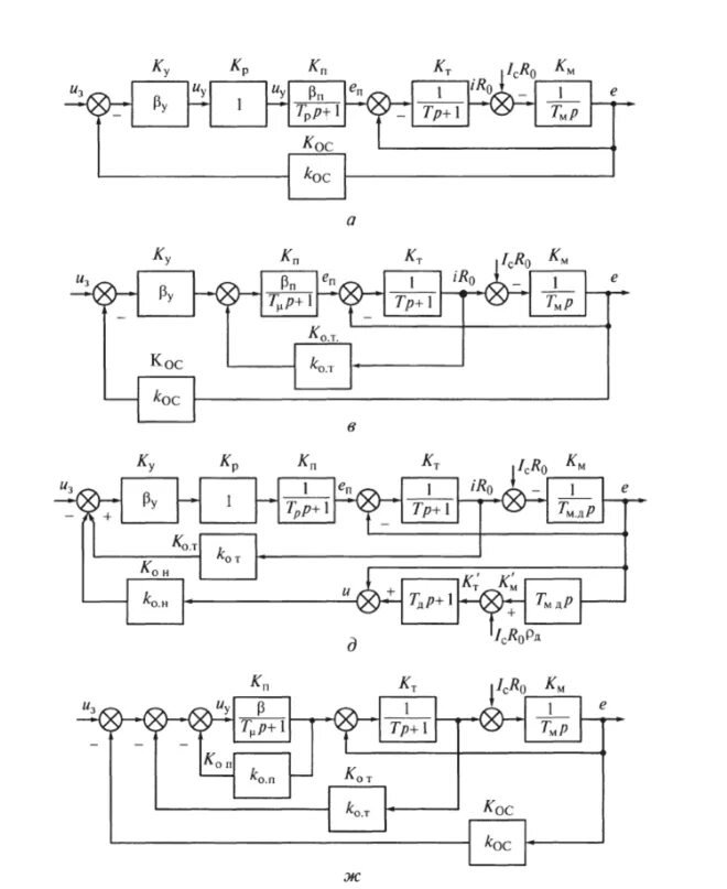
Система управления автоматических линий