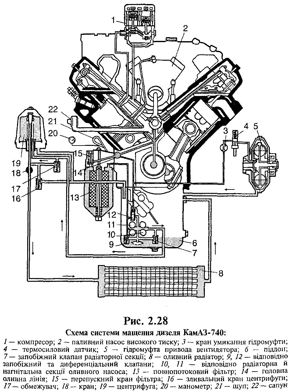
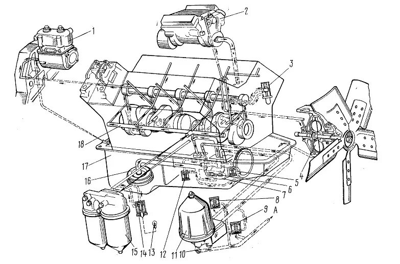
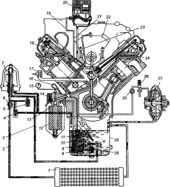
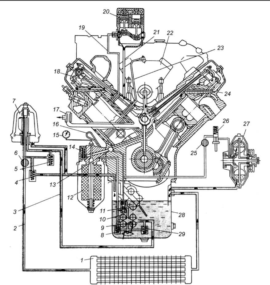
Система смазки двигателя камаз