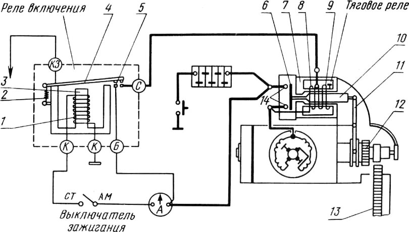
Система пуска стартера