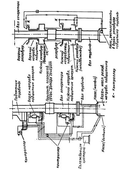
Система охлаждения подшипников