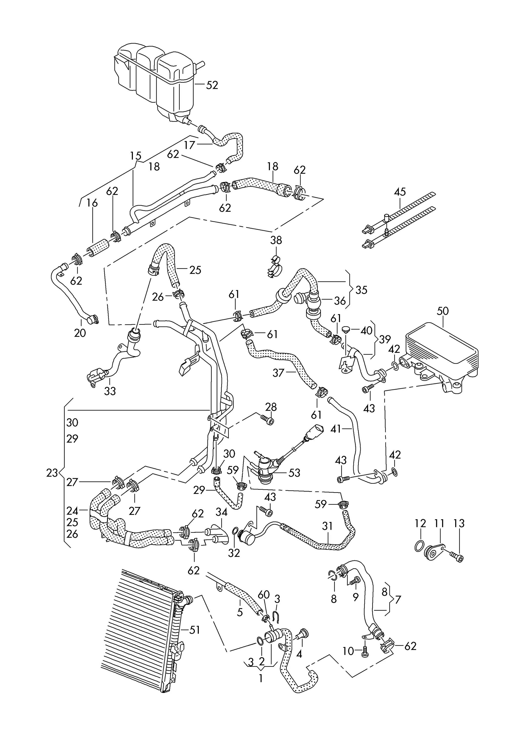
Система охлаждения двигателя туарег