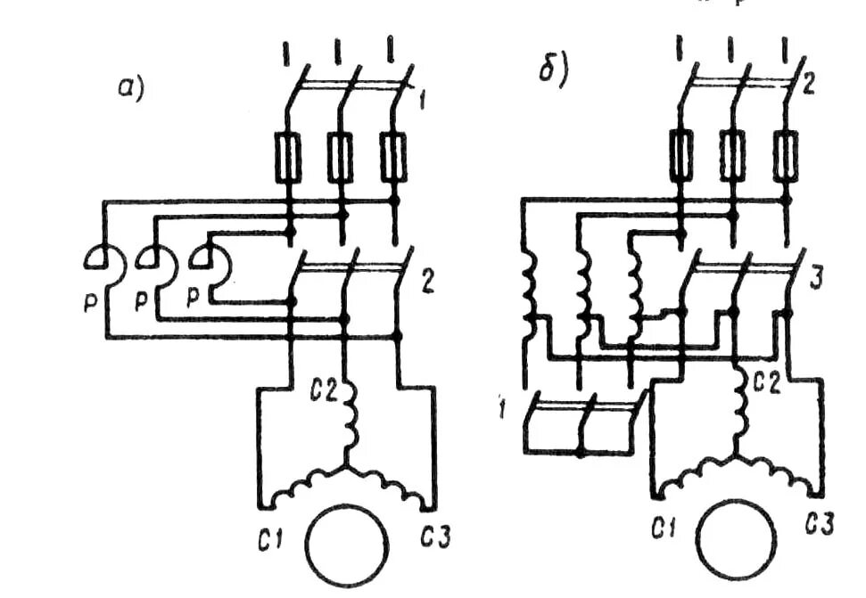
Схемы включения асинхронных