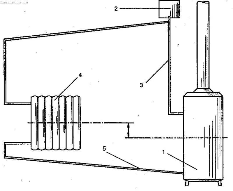
Схемы систем отопления открытого типа