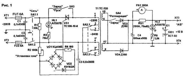
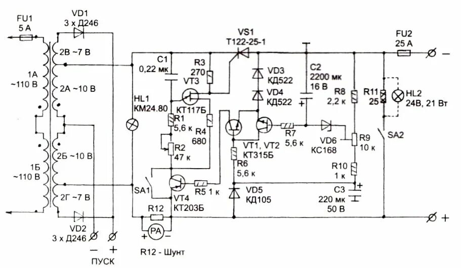
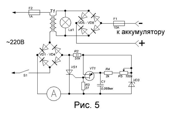
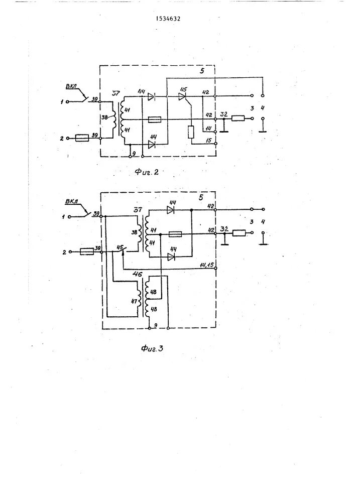
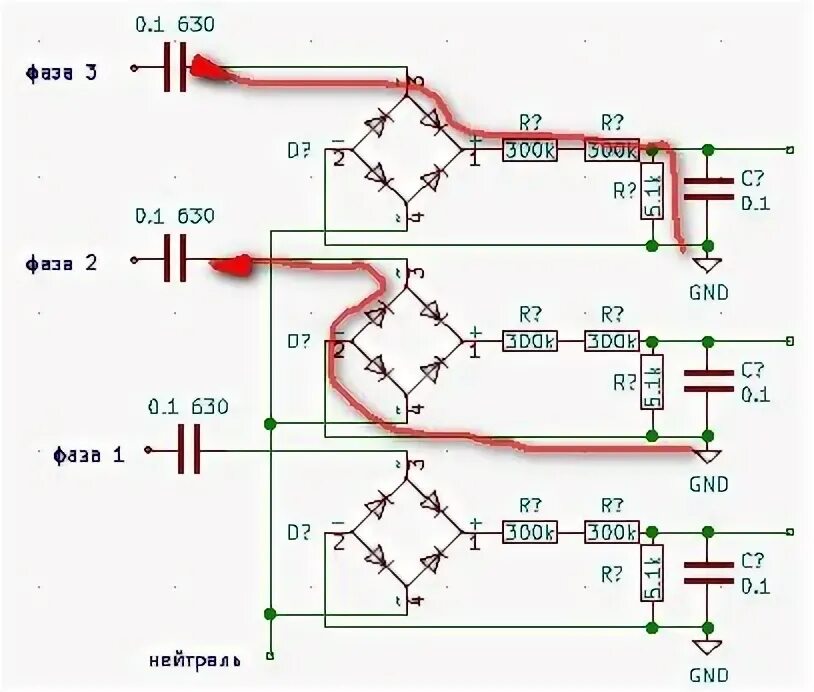
Схема зарядного старт 1