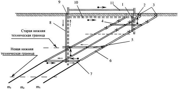
Схема вскрытия шахтного поля