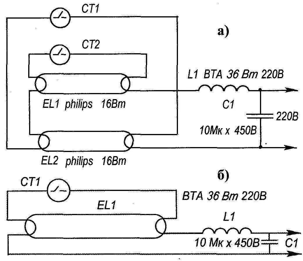
Схема включения 2 ламп