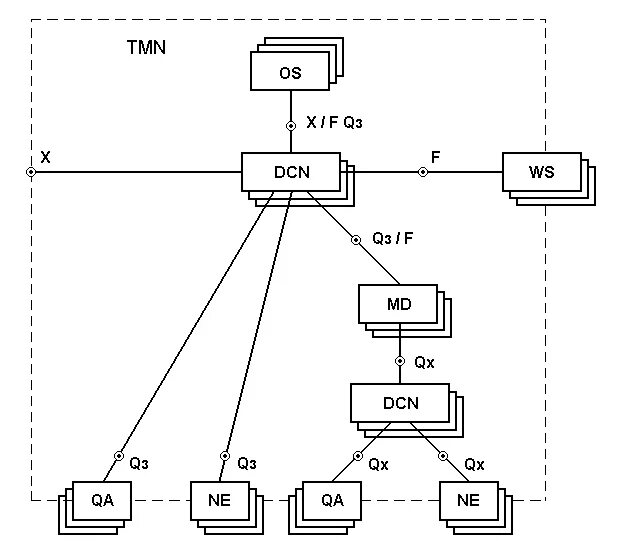
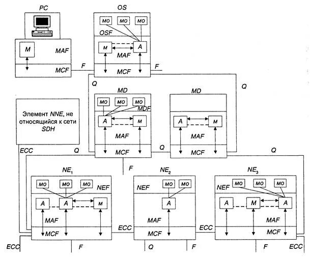
Схема управления сетью