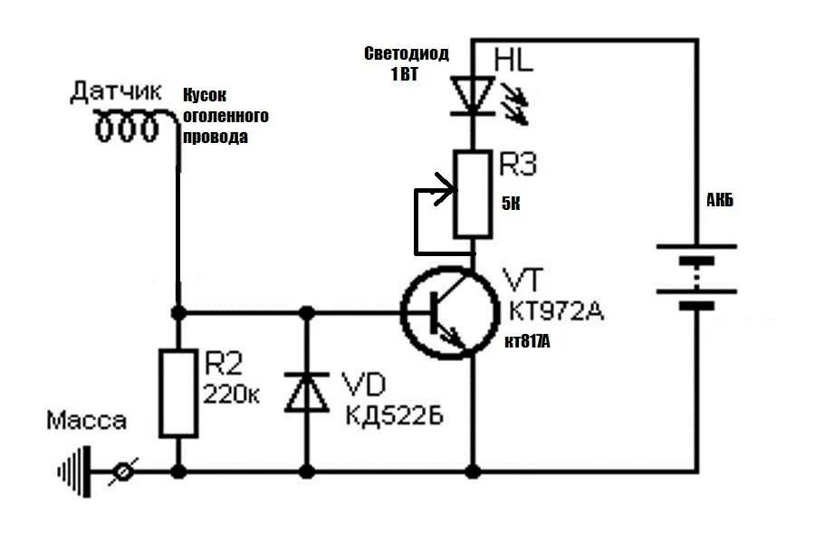
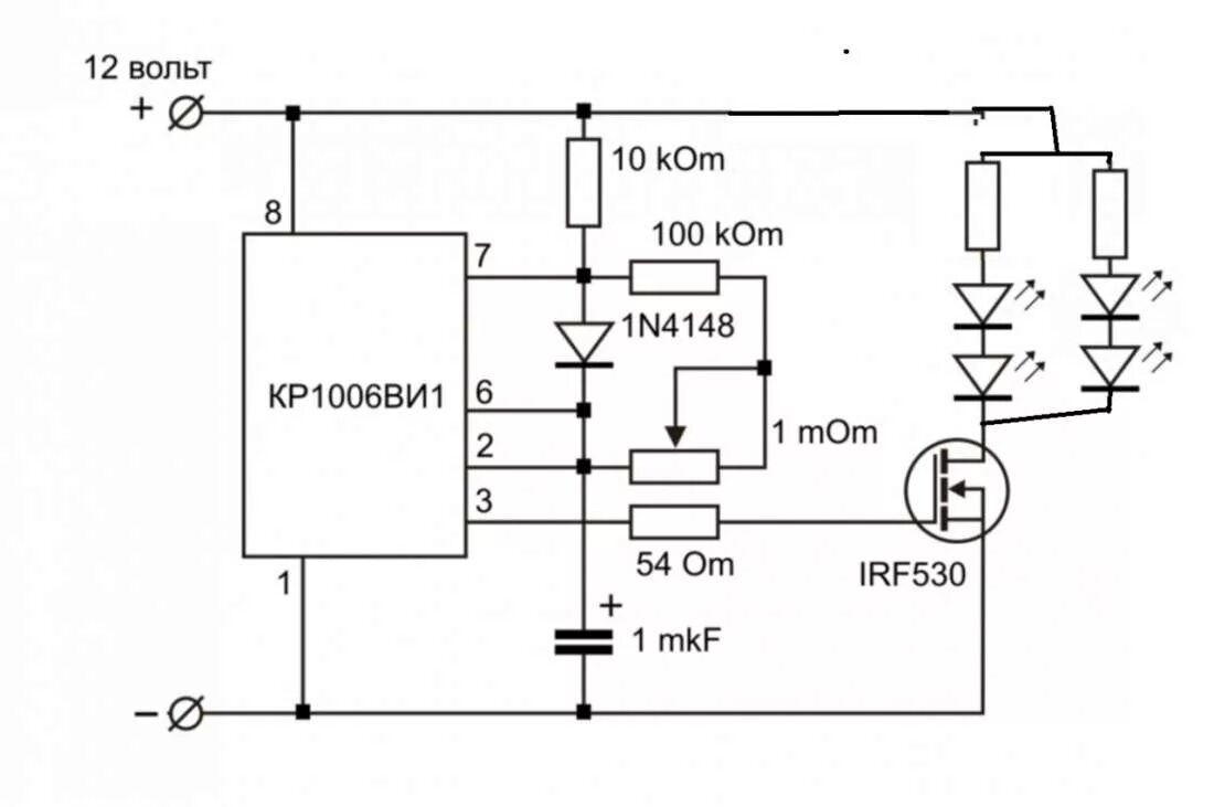
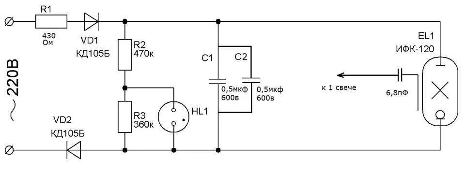
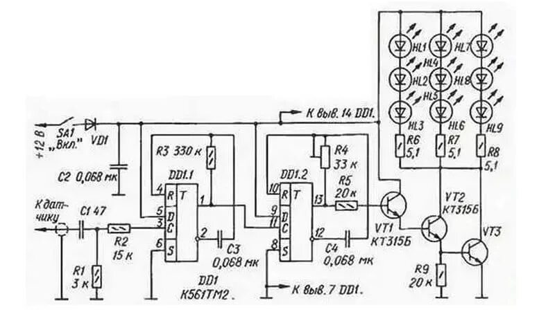
Схема стробоскопа для установки зажигания своими руками