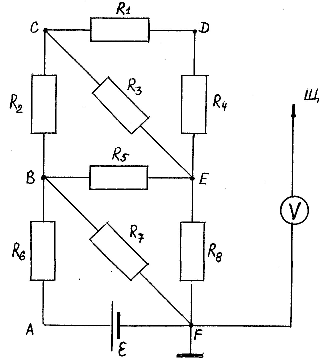
Схема разветвленной цепи