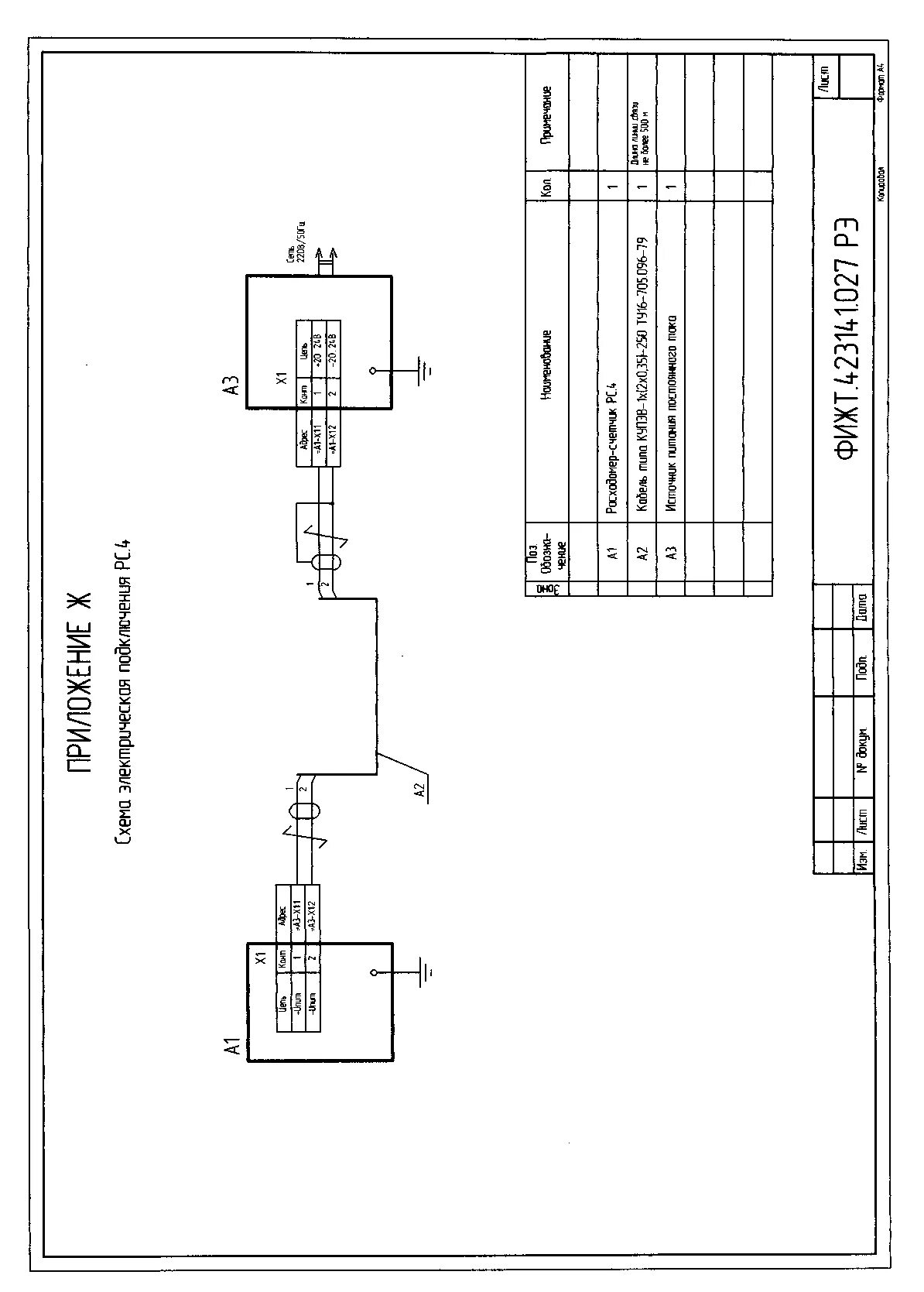
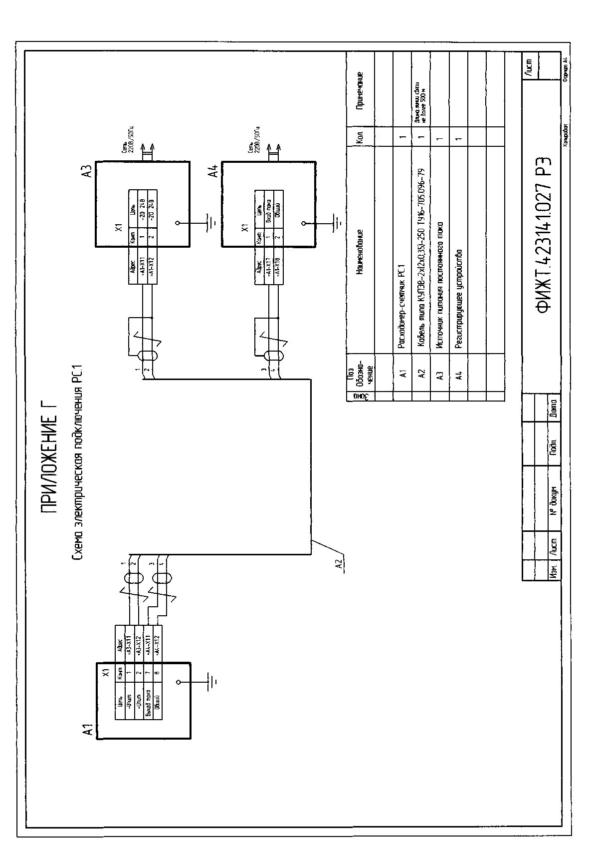
Схема подключения рс