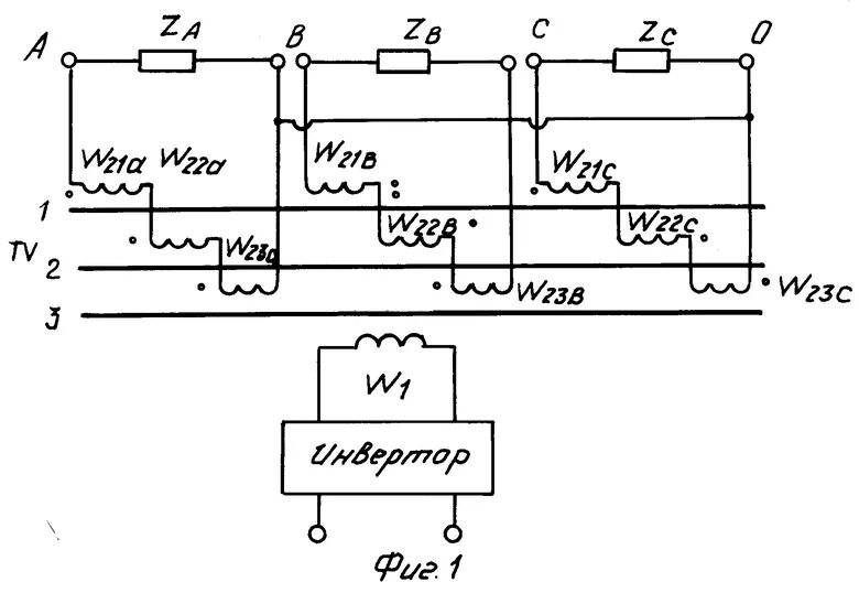
Схема подключения 3х фазных трансформаторов