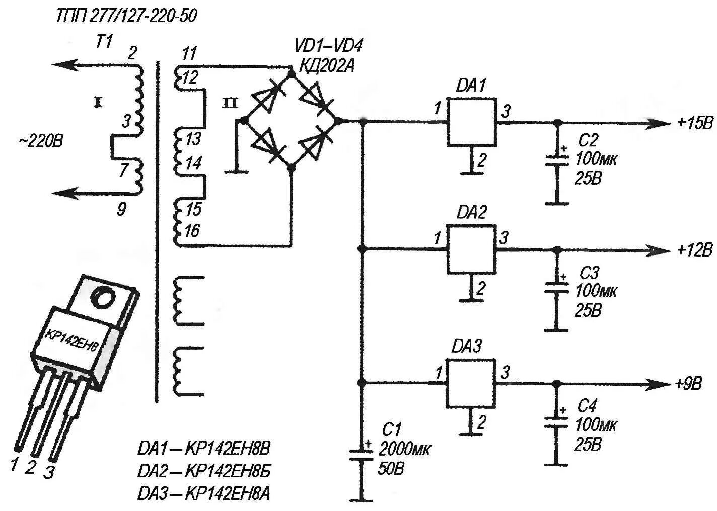
Схема параметры