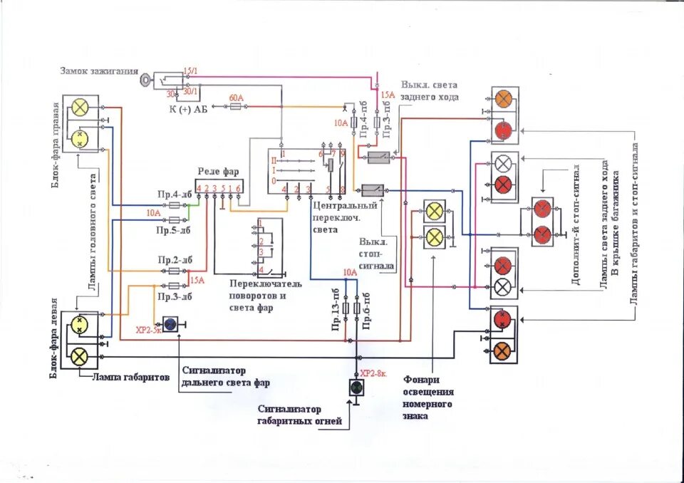
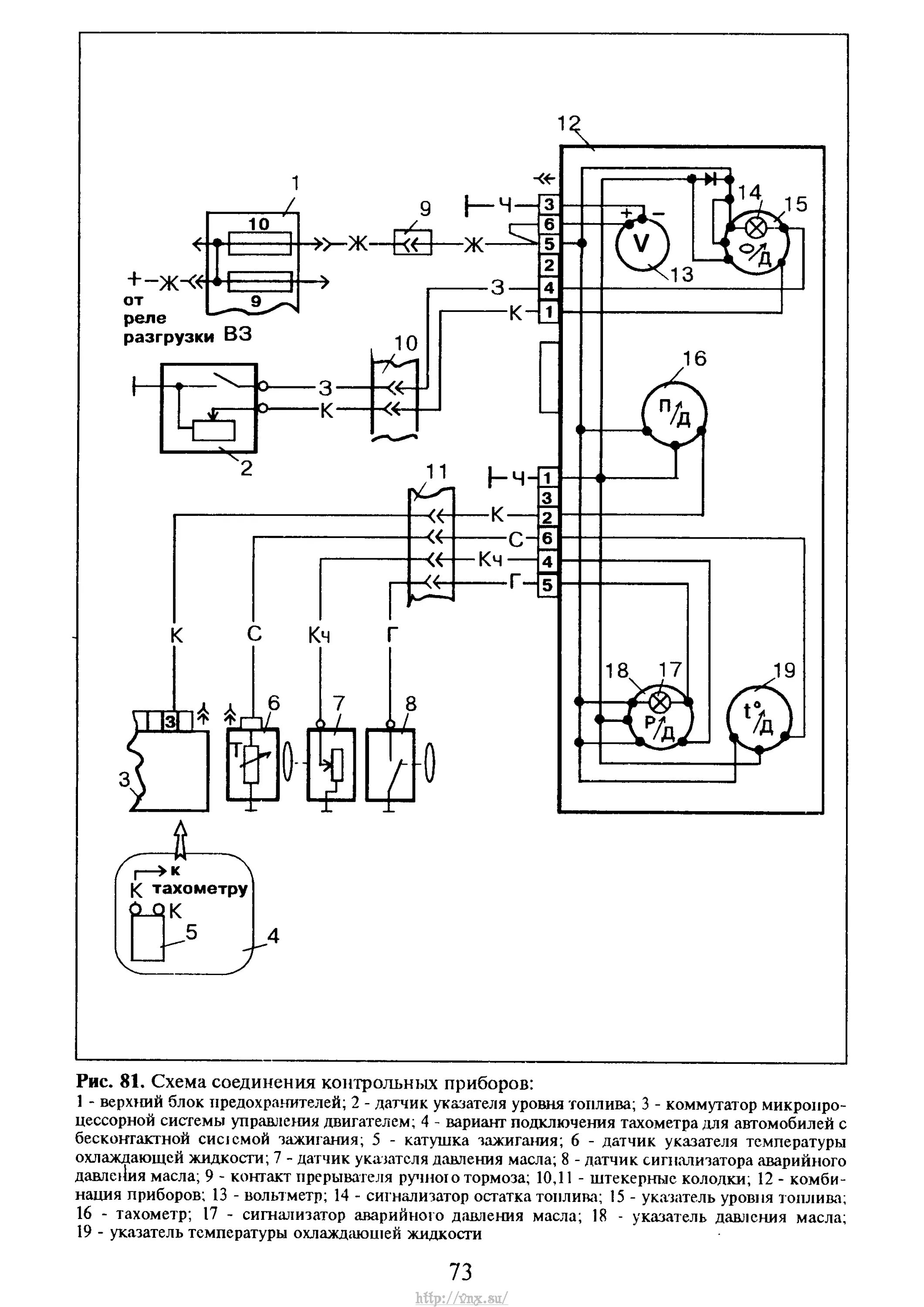
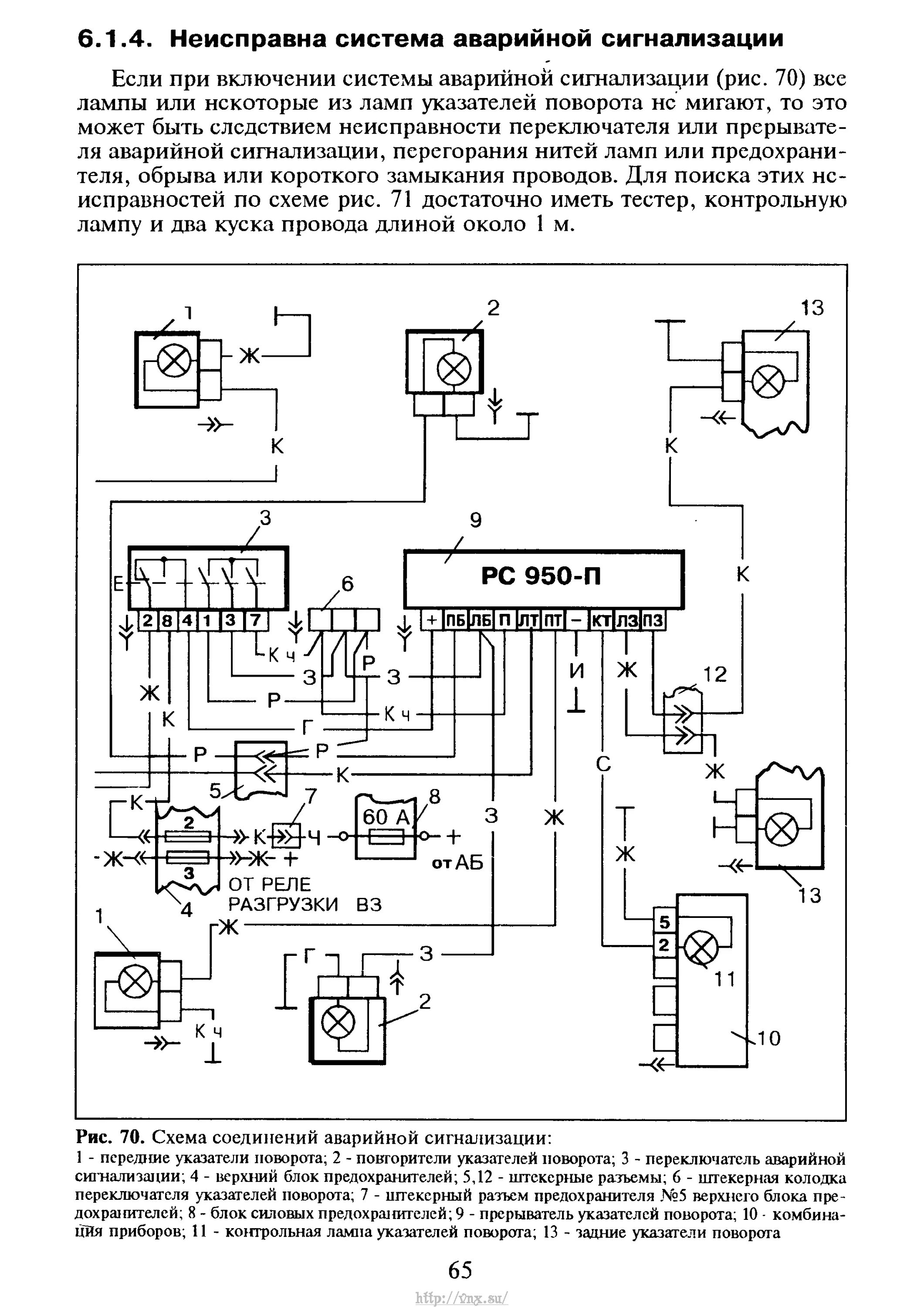
Схема освещения газель