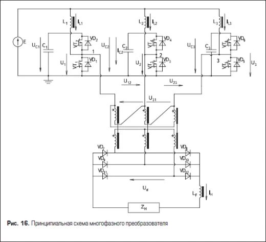
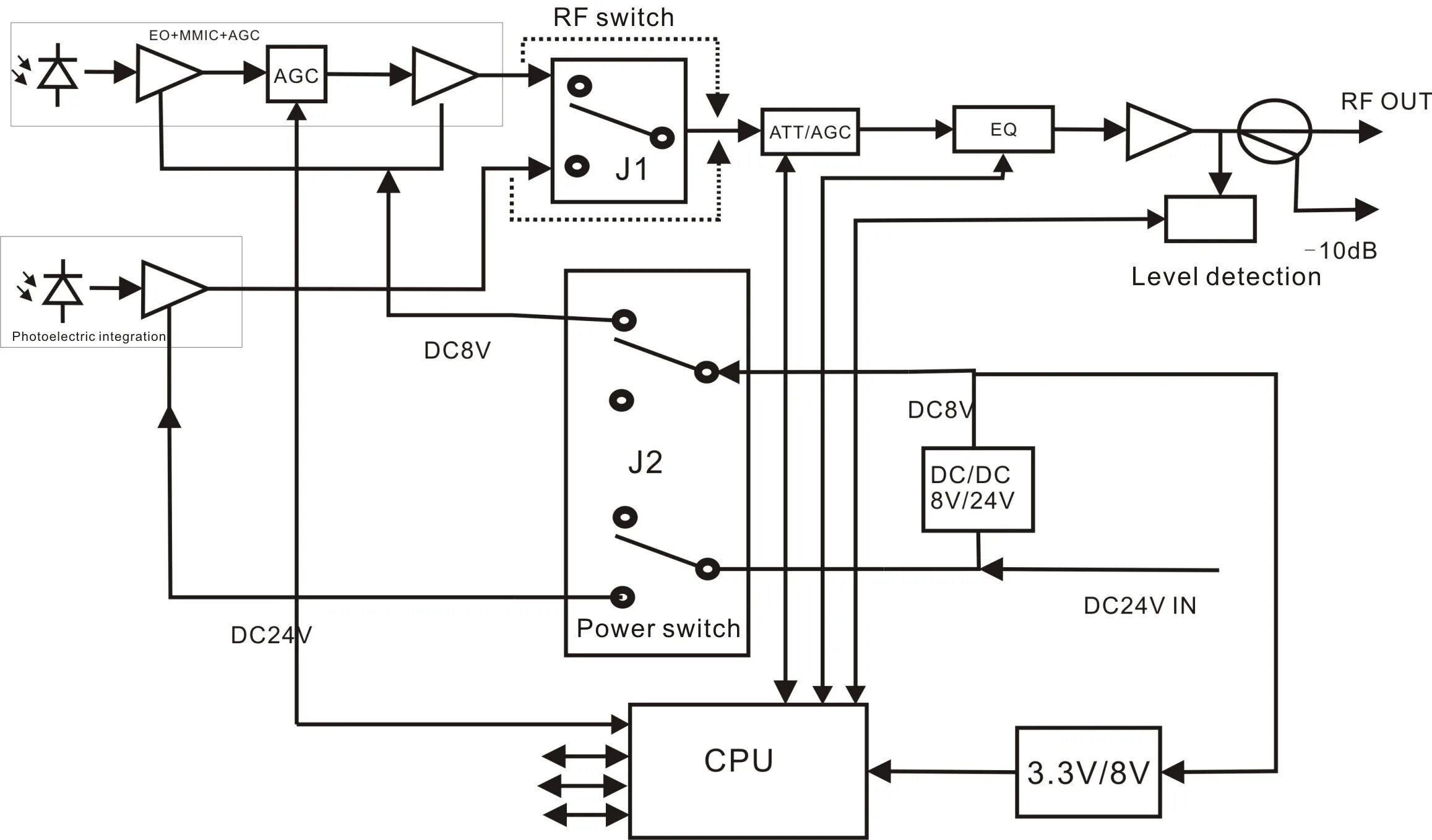
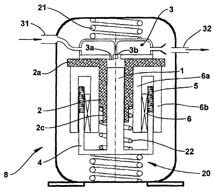
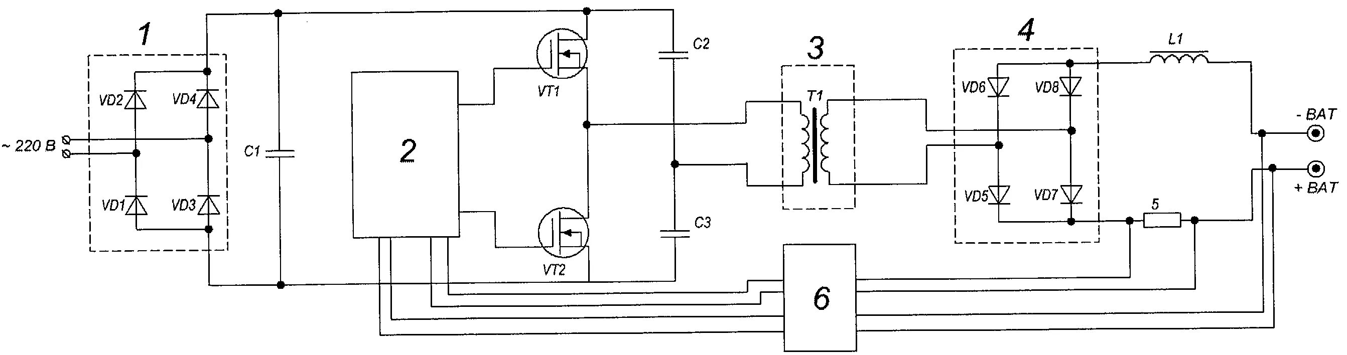
Схема инверторного компрессора