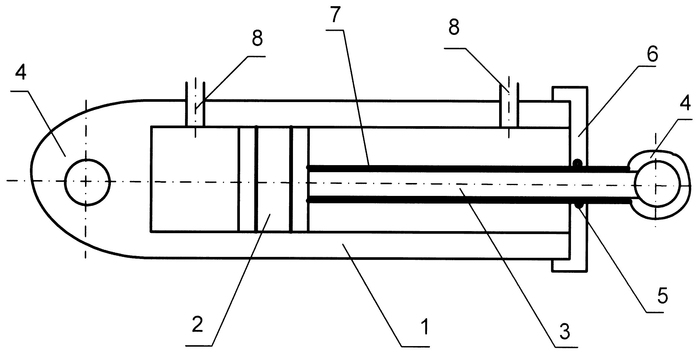
Схема гидроцилиндра