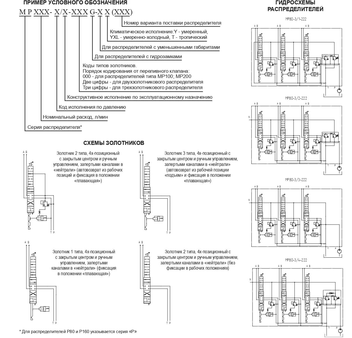
Схема гидрораспределителя р 80