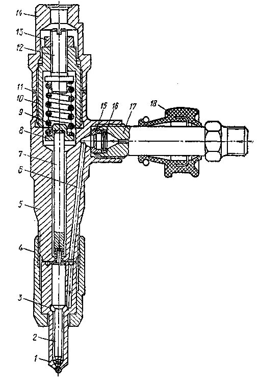
Схема форсунки двигателя