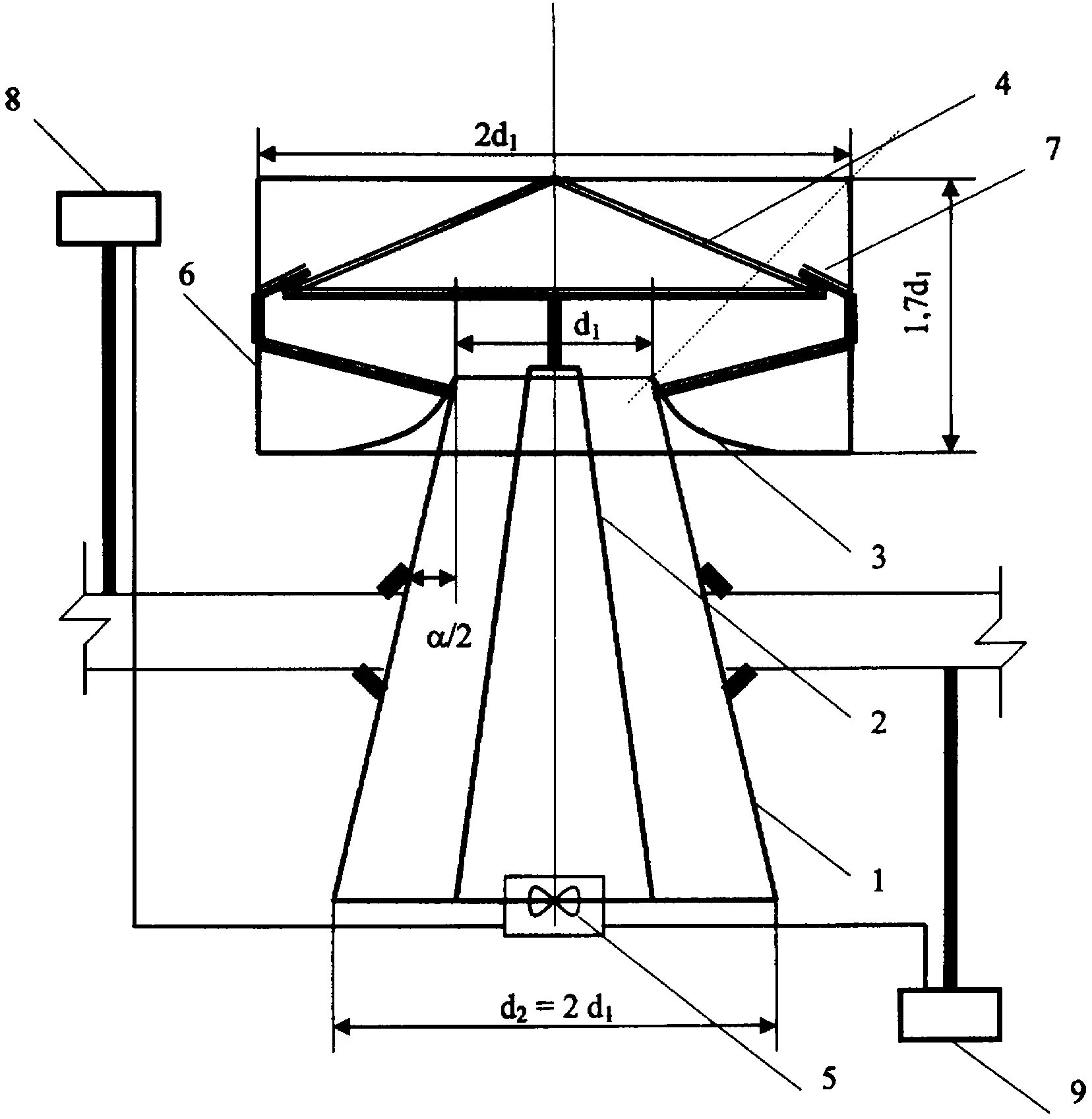
Схема диффузора