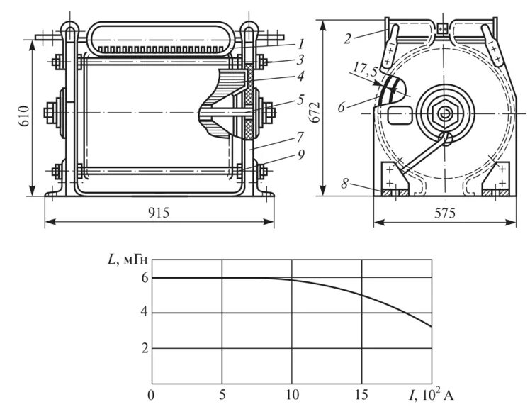
Сглаживающий реактор