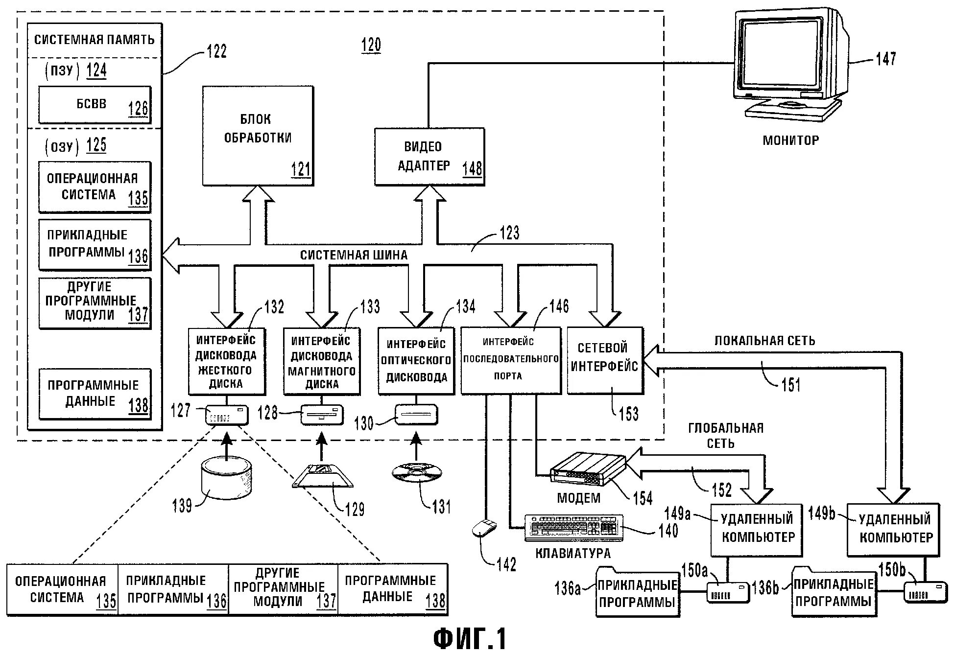
Сетевая операционная программа