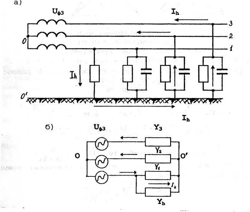
Сеть с изолированной нейтралью трансформатора