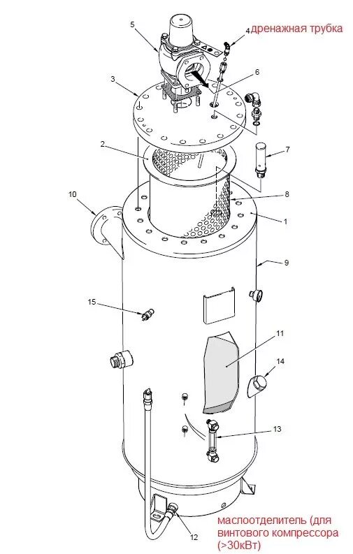
Сепаратор для винтового компрессора