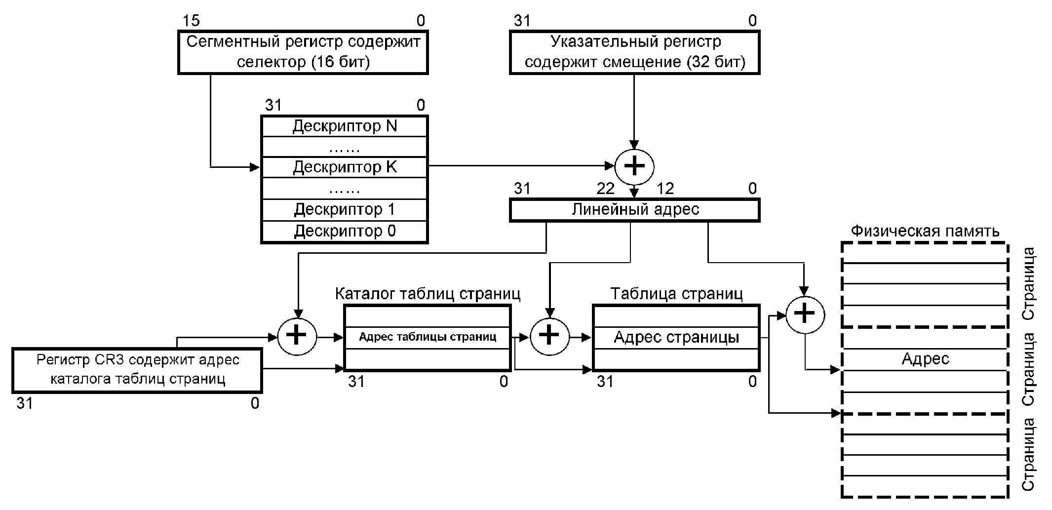
Сегмент регистра