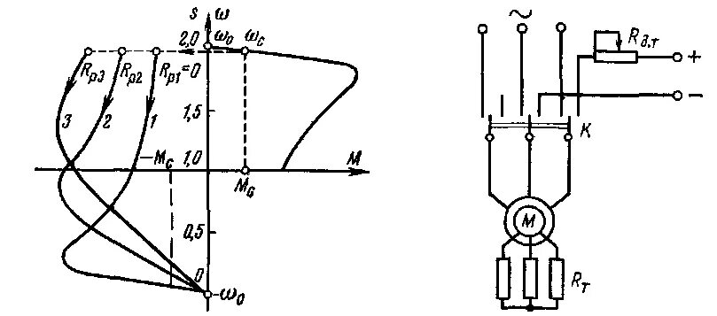
S в асинхронном двигателе