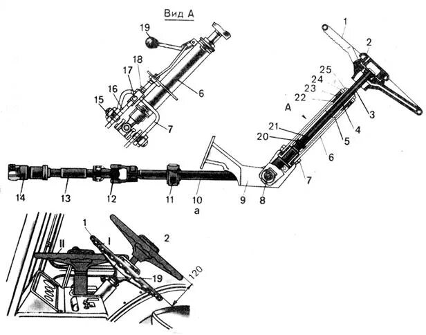
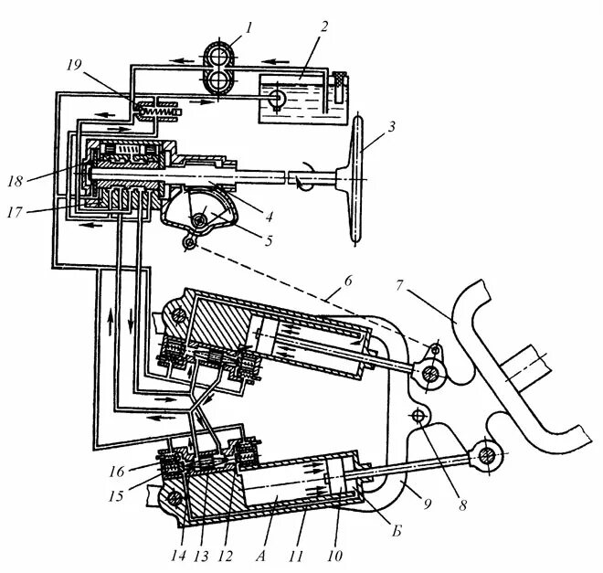
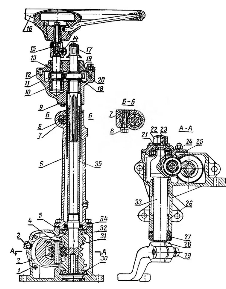
Рулевое управление трактора устройство