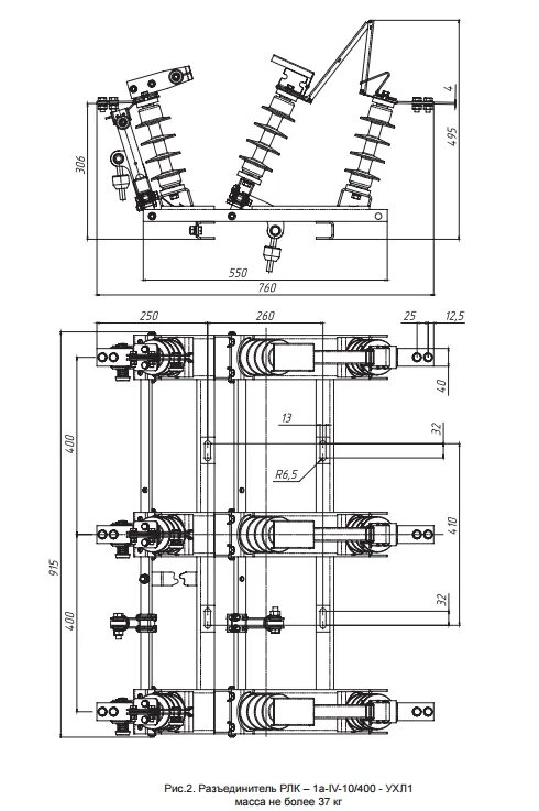
Рлк 10 ухл1 разъединитель