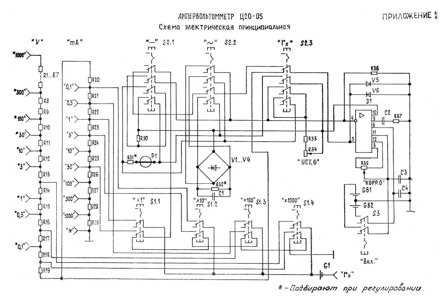
Ремонт измерителя