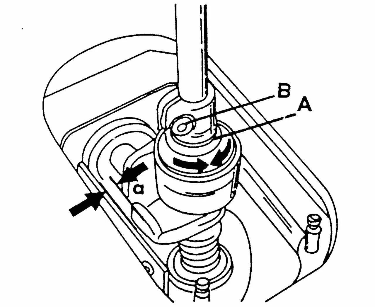
Регулировка выбора передач