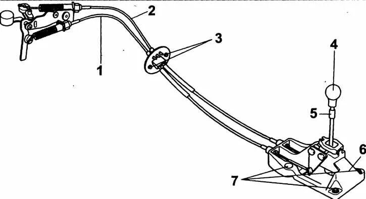
Регулировка тросов переключения передач